碳化硅換熱器雙側密封裝置發明介紹
錢橋化工機械公開發明了一種實用新型碳化硅換熱器雙側密封裝置,包括第一防腐管板組件、支撐板、至少一個金屬管板和第二防腐管板組件,第一防腐管板與封頭連接,第二防腐管板組件與殼體連接,第一防腐管板組件和第二防腐管板組件之間向殼體方向依次設有支撐板和金屬管板,第一防腐管板組件、支撐板、至少一個金屬管板和第二防腐管板組件設有位置對應的安裝孔,碳化硅管穿過安裝孔,碳化硅管的末端通過第一密封件固定在第一防腐管板組件的一側,第一防腐管板組件的另一側通過第二密封件連接碳化硅管,碳化硅管通過第三密封件連接金屬管板,碳化硅管通過第四密封件連接第二防腐管板組件,本實用新型具有結構安全、防止泄漏、密封效果好、及時監測有益效果。
碳化硅換熱器雙側密封裝置
技術領域
[0001]本實用新型涉及化工機械設備領域,更具體涉及一種碳化硅換熱器雙側密封裝置。
背景技術
[0002]碳化硅換熱器是一種利用碳化硅陶瓷材料作為傳熱介質的新型換熱器。由于碳化硅陶瓷具有耐腐蝕、耐高溫、高熱導、高硬度、耐磨等優良特性。它具有耐高溫和抗熱沖擊的優異性能,從1000℃風冷至室溫,反復50次以上不出現裂紋;導熱系數與不銹鋼等同;在氧化性和酸性介質中具有良好的耐蝕性。在結構上成功地解決了熱補償和較好地解決了氣體密封問題。該裝置傳熱效率高,節能效果顯著,用以預熱助燃空氣或加熱某些過程的工藝氣體,可節約一次能源,燃料節約率可達30%以上,并可強化工藝過程,顯著提高生產能力。在現有技術中對于碳化硅管上密封件的壓合通常采用固定的壓緊方式,但是這樣的壓合方式隨著多次的加熱冷卻、密封材料會老化進而形成縫隙,造成介質的泄漏。同時由于介質整體是密封的,所以即便發生泄漏也不能及時發現。
實用新型內容
[0003]為了解決上述問題,本實用新型的目的在于提供了一種結構安全、防止泄漏、密封效果好、及時監測且能夠及時分析泄漏物質的碳化硅換熱器雙側密封裝置。
[0004]根據本實用新型的一個方面,提供了碳化硅換熱器雙側密封裝置,包括第一防腐管板組件、支撐板、至少一個金屬管板和第二防腐管板組件,第一防腐管板與封頭連接,第二防腐管板組件與殼體連接,第一防腐管板組件和第二防腐管板組件之間向殼體方向依次設有支撐板和金屬管板,第一防腐管板組件、支撐板、至少一個金屬管板和第二防腐管板組件設有位置對應的安裝孔,碳化硅管穿過安裝孔,碳化硅管的末端通過第一密封件固定在第一防腐管板組件的一側,第一防腐管板組件的另一側通過第二密封件連接碳化硅管,碳化硅管通過第三密封件連接金屬管板,碳化硅管通過第四密封件連接第二防腐管板組件。
[0005]在一些實施方式中,碳化硅管的兩端均設有至少兩道環狀凹槽,第一密封件包括向殼體方向依次設置的四氟螺紋壓套、四氟墊圈、O型圈、四氟墊圈、軟性四氟填料和O型圈,O型圈套設在環狀凹槽內。
[0006]在一些實施方式中,第二密封件包括向殼體方向依次設置的O型圈、軟性四氟填料、O型圈、四氟墊圈和彈性支撐件。
[0007]在一些實施方式中,第二防腐管板組件包括對應拼合的兩塊四氟管板,至少有一塊四氟管板上設有安裝槽,兩塊四氟管板設有第五密封件,第五密封件為O型圈。
[0008]在一些實施方式中,第四密封件包括向殼體方向依次設置的第一密封材料、彈性支撐件和第二密封材料,第一密封材料包括向殼體方向依次設置的四氟墊圈、O型圈、四氟墊圈、軟性四氟填料和O型圈,第二密封材料包括向殼體方向依次設置的O型圈、軟性四氟填料、O型圈、四氟墊圈。
[0009]在一些實施方式中,第三密封件包括向殼體方向依次設置的彈性支撐件、四氟墊圈、O型圈、四氟墊圈、軟性四氟填料和O型圈。
[0010]在一些實施方式中,彈性支撐件為中空的四氟波紋管。
[0011]在一些實施方式中,封頭與第一防腐管板組件之間、第一防腐管板組件與支撐板之間、支撐板與金屬管板之間、金屬管板與第二防腐管板組件之間、第二防腐管板組件與殼體之間設有第六密封件,第六密封件為橡膠密封圈。
[0012]在一些實施方式中,支撐板豎直方向設有檢測槽,檢測槽的頂端安裝有滲漏檢測裝置,檢測槽的底部設有放液閥門,放液閥門上設有緊固螺栓,滲漏檢測裝置為壓力傳感器。
[0013]在一些實施方式中,檢測槽連通支撐板上所有的安裝孔。
附圖說明
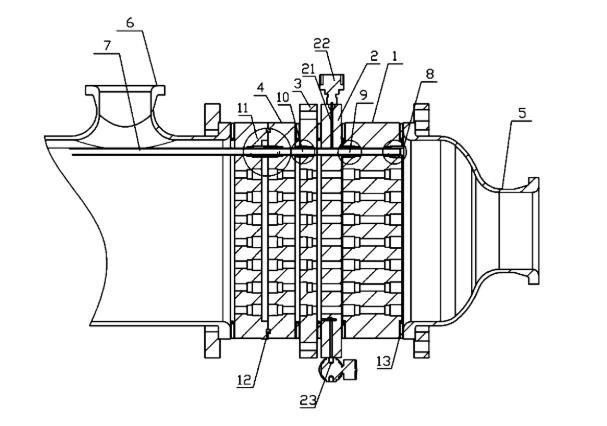
[0014]圖1是本實用新型碳化硅換熱器雙側密封裝置的結構示意圖;
[0015]圖2是圖1中8的局部放大圖;
[0016]圖3是圖1中9的局部放大圖;
[0017]圖4是圖1中10的局部放大圖;
[0018]圖5是圖1中11的局部放大圖;
[0019]圖6是本實用新型碳化硅換熱器雙側密封裝置另一實施方式的結構示意圖。
當前位置:
